来源:金石杂谈
12月20日消息,在公募新规中明确,对于近三年业绩差跑输基准10个百分点且业绩为负的基金经理要至少降薪30%。与此同时,新规也明确建立长效激励约束机制。
基金管理公司可以采用股权、期权、限制性股权、分红权等与公司长期发展、基金份额持有人长期利益相绑定的中长期激励,建立长效激励约束机制。此举可以留住基金圈优秀人才,可以和薪酬提高形成互补。
就在这个档口,大家发现,永赢基金员工持股计划彻底刷屏。近期,永赢基金股权变更,新增三家有限合伙企业为股东,合计持有股权3.51%。这一股权由股东新加坡华侨银行转让,用于支持员工持股计划。

新增的三家员工持股计划分别为上海稳进同赢企业管理中心(有限合伙)、上海锐进同赢企业管理中心(有限合伙)和上海聚信同赢企业管理中心(有限合伙)。
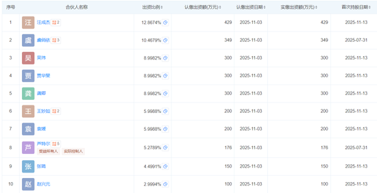
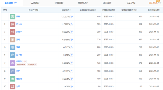
其中,在员工持股计划中持股超10%的股份有:董事长马宇晖持有稳进同赢18.80%的股权,督察长汪成杰持有锐进同赢12.87%的股权,总经理助理虞俏依持有锐进同赢10.47%的股权,权益投资部总经理高楠持有聚信同赢12.03%的股权,首席产品官厉大业持有聚信同赢11.70%的股权。
其中,投资超过300万的员工有:马晓辉、李文宾、汪成杰、虞俏依、吴玮、贾华斐、龚卿、高楠、厉大业、刘星宇等。
根据天眼查,上海稳进同赢企业管理中心(有限合伙)在11月12日新增30名员工持股。其中,持股较前的几位同学分别为:马宇辉是永赢基金董事长,李文宾西权益投资部联席总经理兼永赢科技驱动混合基金经理;黄玉芳是永赢基金监事,合规负责人;陶毅系永赢基金绝对收益部总经理助理、基金经理;固收基金经理杨野;指数基金经理蔡路平;固收研究部总经理田甜等等。

上海锐进同赢企业管理中心(有限合伙)持股计划在11月13日增加了30名员工。其中,汪成杰是永赢基金董事、督察长;基金运营部总经理、客户服务部总经理以及人力资源部总经理虞俏依;固收投资总监吴玮;贾华斐同样是永赢基金渠道悍将,系电商总监;机构部总经理龚卿;王妙如是公司监事,同时还是公司风险管理部总监;

第三只员工持股计划:上海聚信同赢企业管理中心(有限合伙)。其中,高楠是公司首席投资官兼权益投资部总经理;首席产品官厉大业;绝对收益投资部副总经理(主持工作)兼绝对收益投资部FOF投资部总经理刘星宇;权益投资部投资经历王乾等等。

永赢基金本次持股计划新增90名员工,其中公司总经理芦特尔在三个员工持股计划中军持股超5%,为实控人(代持所有人)。
据金石杂谈统计,永赢基金目前有46名基金经理,有40名基金经理加入公司员工持股计划,但有6名基金经理却没能加入。下面咱们一起看看,这6名基金经理为何未能享受这份员工持股激励计划?
1)权益高光,固收落寞。据金石杂谈统计,目前未进入激励计划的基金经理分别为:段伟良、卢丽阳、郭画、连冰洁、徐沛琳、陈方圆。其中,一位是指数量化、一位是绝对收益,还有4位基金经理则是做固收的,而权益基金经理全部加入了员工持股计划。

不过,和大家印象中永赢权益一路高光不同的是,永赢基金6300亿的规模有2580亿是固收,2000亿是货币基金,而权益只有1700亿。所以,对于永赢来说,固收基金和权益同样重要,但是,永赢基金的权益表现并不好。
金石杂谈查询wind数据发现,固收总经理吴玮今年收益只有0.8%,管理基金规模从去年底的674亿大幅缩水至目前的418亿,一年规模缩水了250多亿。

2)和任职时间有关,没有加入员工持股计划的基金经理要么是新人,要么业绩较差。比如:①基金经理段伟良,2023年加入永赢,24年9月才管理第一只产品,目前管理规模也只有3.17亿;
②与量化基金经理陈方圆2025年7月才管理第一只产品,目前依然只管理这一只,且规模只有0.22亿;
③基金经理徐沛琳更为惨烈,虽然21年就开始管理产品,但近1年竟然亏损2.23%,严重跑输基准,做债近三年竟然亏了11%,严重跑输市场。

④基金经理郭画24年4月开始管理产品,目前规模虽然超20亿,但今年收益只有0.29%,跑输中证综债基准的0.79%。
⑤基金经理连冰洁,今年收益也跑输基准,而且管理产品开始于2024年底,也是新人。

3)不过,还有一位固收基金经理卢丽阳有点惨,近1年收益4.9%,今年收益大幅跑赢基准,近2年收益也超18%;而且其管理规模也从去年底的39.48亿暴增至目前的78.69亿,规模翻倍。
即便如此,卢丽阳依旧未能被纳入股权激励计划。不知是不是因为管理产品时间较晚,23年3月才管理第一只产品。

4)最后,通过员工持股计划持股情况,大家也能看出,永赢基金大概率对固收的激励计划指标少了不少。因为所有固收基金经理在员工持股计划中都不足5%,最高为固收总监助理杨野的4.5%(今年收益也跑输了基准),而权益最高持股为高楠的12%(业绩靓丽、规模暴增,实至名归),指数与量化、绝对收益的最高比重也有9%。


